永嘉全科阀门
咨询电话:0577-67179889
图文传真:0577-67363233
E-mail:2271234277@qq.com
地址:永嘉县瓯北三桥工业区
插板阀说明书

插板阀展示图
一、 产品用途:
插板阀是一种粉料、晶粒料、颗粒料及小块物料输送管道,调节或切断 物料流量的主要控制设备,广泛地应用于冶金、矿山、建材、化工等行业系统中,控制物料的流量调节或切作用。
二、 产品特点:
具有结构简单、操作灵活、重量轻、无卡组、特别适用于各种固体物料、 50mm左右、团状物料的输送及流量调节、安装不受角度限制、操作方便、能随时调节开度等优点。
三、 产品使用性能:
公称压力:0.05Mpa;
介质流量:≤28m/s;
工作温度:≤300℃;
适用介质:无粘度的粉尘气体、固体粉料、小颗粒物料。
四、安装与使用:
1. 本阀门安装在管道上时,阀杆可以向上,也可以水平.
2.检查各螺纹连接是否有松懈,并调节拧紧;
3.卸掉阀门通道两端闷盖,清洁内腔,去除油垢;
4.剥去阀杆防护油纸后,在阀杆上重新涂润滑脂;
5.冲洗、清洁管路,以免损坏密封面。
6.阀门启闭时,开启电动(气动)执行器通过阀杆升降进行开启和关闭,启闭过程中受力应均匀,到位前应缓速逐渐开启到位或关闭至密封。
五、储备
1.本阀门应存放在干燥通风的室内,做到防潮、防雨、防锈。
2.阀门存放与运输时启闭件应处于关闭位置,
3.通径两端用闷盖塞紧,予以防尘、防锈,保持通道清洁;
4.长久放置时应定期检查。对阀杆表面、两通道、密封面、两端法兰上的污垢和锈迹进行检查后,重新涂刷防锈油及予以防护。
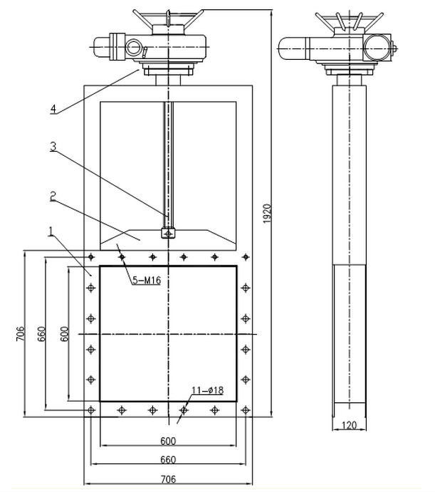
六、结构图
七、 可能发生的故障和消除方法: